Разъединитель РЛР Тесла-1-10/400 УХЛ1 с приводом и КМЧ
Описание
Линейные разъединители РЛР Тесла-1-10/400 УХЛ1 рубящего типа для наружной установки.
Современный улучшенный аналог разъединителей РЛК-1(а,б)-10.IV/400 УХЛ1 и РЛНД-1-10/400 УХЛ1, разрешенный к применению ПАО «МОЭСК» и ПАО «Россети»
Поставляется в комплекте с приводом и металлоконструкциями (кронштейны, хомуты и соединительная тяга) для крепления на опору.
Расшифровка обозначения разъединителя РЛР Тесла-1-10/400 УХЛ1
Р — разъединитель
Л — линейный
Р — рубящего типа
1 — количество заземлителей
10 — номинальное напряжение сети, кВ
400 — номинальный рабочий ток, А
УХЛ1 — климатическое исполнение и категория размещения по ГОСТ 15150.69
Преимущества разъединителя РЛР Тесла-1-10/400 УХЛ1 перед разъединителями устаревших конструкций
- Все металлические элементы разъединителя защищены покрытием из горячего цинка.
- Группа силовых ножей выполнена из меди толщиной 3 мм и покрыта гальваническим оловом.
- Рама выполнена на П-образных хомутах, без использования сварки.
- Используются оцинкованные метизы, а в точках высокой нагрузки применены метизы из нержавеющей стали.
- Механическая блокировка главных ножей при включении ножей заземления расположена непосредственно на раме разъединителя.
- Главные и заземляющие ножи разъединителя РЛР Тесла управляется одним валом.
Технические характеристики разъединителя РЛР Тесла-1-10/400 УХЛ1
| Номинальное напряжение | 10 кВ |
| Наибольшее рабочее напряжение | 12 кВ |
| Номинальный ток | 400а |
| Ток термической стойкости | 10 кА |
| Ток электродинамической стойкости | 25 кА |
| Время протекания тока термической стойкости | 5 с |
| Индуктивный ток отключения (соs ~0,15) | 1 А |
| Емкостный ток отключения (соs ~0,15) | 1 А |
| Сопротивление постоянному току главного токоведущего контура | не более 95х10-6 Ом |
| Допустимая механическая нагрузка на выводы от присоединяемых проводов с учетом влияния ветровых нагрузок (скорость ветра до 15 м/с) и образования льда (толщина корки льда до 20 мм) | не более 200 Н |
| Толщина корки льда при оперировании разъединителем | не более 20 мм |
| Наибольшее усилие, прикладываемое к рукоятке привода | не более 215 Н |
| Габаритные размеры (длина, ширина, высота, мм) | 800х900х800 |
| Масса | не более 45 кг |
Комплект поставки разъединителя РЛР Тесла-1-10/400 УХЛ1
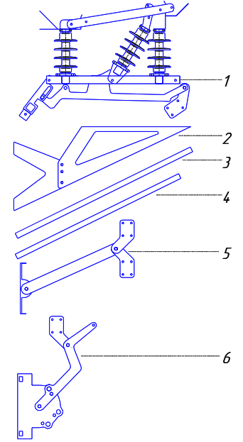
![]() |
1. Разъединитель 2. Монтажная рама 3. Тяга (2600 мм) 4. Тяга (2800 мм) 5. Промежуточный элемент 6. Привод 7. Хомуты с ответными пластинами (на схеме не отражены) |


